Welkom op het weetjewel forum, van en voor Volkswagen Transporter rijders.
Groetjes webmaster Henk-1
klik rechts op de "X" dan verdwijnt dit veld
Groetjes webmaster Henk-1
klik rechts op de "X" dan verdwijnt dit veld
3punts gordel Links achter 93' California
-
MCalifornia
- Berichten: 1
- Lid geworden op: 30 okt 2022, 14:44
3punts gordel Links achter 93' California
Ik heb al vele topics gelezen en op het forum gezocht maar helaas nog niet het antwoord gevonden. Ik wil de huidige heupgordel achterbank bestuurders kant vervangen voor een 3punts (door de bovenkast). Heeft iemand een link of directie waar deze gordel set te verkrijgen is? Ik heb het OEM nummer van een 2003 set maar kan daar helaas niks mee vinden.
Re: 3punts gordel Links achter 93' California
Is origineel niet meer nieuw te verkrijgen. Gebruikt behoorlijk aan de prijs.
Op Duitse fora zijn wat oplossingen zoals: https://www.bulliforum.com/viewtopic.php?t=29181
Op Duitse fora zijn wat oplossingen zoals: https://www.bulliforum.com/viewtopic.php?t=29181
Laatst gewijzigd door J vd Pal op 25 jan 2023, 16:05, 1 keer totaal gewijzigd.
Groeten
Jasper
2002 California Event ACV Reflex Silver
Jasper
2002 California Event ACV Reflex Silver
Re: 3punts gordel Links achter 93' California
ik heb de mijne bij 4campers besteld.
betreft een reimo speciale gordel met referentie 58149.
was begin 2021 net geen 90 euro.
moet je wel een houder maken in de kast boven het bed, en een versteviging boven de bedplank.
zitten ook 2 klikkers bij voor aan de bank te schroeven, 1tje moet je daarvan niet gebruiken, die dat nu op de bus zit past prima.
betreft een reimo speciale gordel met referentie 58149.
was begin 2021 net geen 90 euro.
moet je wel een houder maken in de kast boven het bed, en een versteviging boven de bedplank.
zitten ook 2 klikkers bij voor aan de bank te schroeven, 1tje moet je daarvan niet gebruiken, die dat nu op de bus zit past prima.
Re: 3punts gordel Links achter 93' California
Interessant! Ik heb ook zo'n heupgordel, maar helemaal vertrouwen doe ik dat toch niet.
Mijn voorsteltopic: viewtopic.php?t=69052
Re: 3punts gordel Links achter 93' California
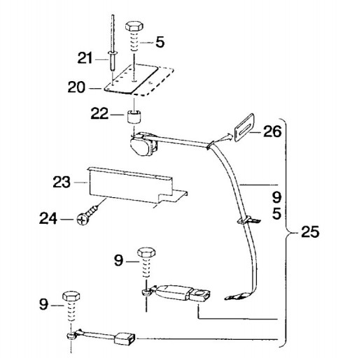
Hier een tekening waarop enigszins te zien is hoe de gordel in een California bevestigd is. De verstevigingsplaat nr. 20 zit aan de bovenkant van de bedplank en wordt met 5 flinke popnagels aan het frame van de auto vastgezet. Het gordelmechanisme zit met een bout nr. 5 vast door de bedplank en de verstevigingsplaat heen. De afschermplaat nr. 23 zorgt dat er geen bagage in de bovenkast tussen het gordelmechanisme kan komen, zo'n soort afscherming is dus wel nodig.
T4 California 1997 - 2.5TDI/ACV
Re: 3punts gordel Links achter 93' California
Weer wat leven in dit draadje. Onze gordel - zoals te zien is in de tekening van Hanz - rolt niet meer op.
Heeft iemand ervaring met de mechaniek van de gordel en of we dit kunnen repareren, of heeft iemand het OEM nummer?
Onze jongste dochter is inmiddels toe aan een groter stoeltje waardoor de gordel in gebruik zal worden genomen.
Alvast dank!
Heeft iemand ervaring met de mechaniek van de gordel en of we dit kunnen repareren, of heeft iemand het OEM nummer?
Onze jongste dochter is inmiddels toe aan een groter stoeltje waardoor de gordel in gebruik zal worden genomen.
Alvast dank!
VW California Generation 2001
Re: 3punts gordel Links achter 93' California
Eén van de oorzaken van het niet meer oprollen van die gordel is dat in de loop de jaren de gordel dikker wordt doordat de vezeltjes wat meer overeind gaan staan. Daardoor wordt de diameter van de opgerolde gordel groter en loopt dan aan tegen de behuizing.
Als je die opstaande haartjes wegscheert of wegbrandt, kun je dat probleem van de te dikke gordel verhelpen, zo werd mij verteld op een technische avond van het VWcampercentrum in Amersfoort.
Als je die opstaande haartjes wegscheert of wegbrandt, kun je dat probleem van de te dikke gordel verhelpen, zo werd mij verteld op een technische avond van het VWcampercentrum in Amersfoort.
Met vriendelijke groet,
Charles Vos
T6 Rockton met California interieur en SCA hefdak
Charles Vos
T6 Rockton met California interieur en SCA hefdak
- krekwakwol
- Berichten: 4691
- Lid geworden op: 10 jan 2016, 20:28
- Locatie: Gemeente Westerkwartier
Re: 3punts gordel Links achter 93' California
Misschien een idee om op het busjes weekend een gordelscheer workshop te geven Charles 
Maar wel een goede tip en goedkoper dan een nieuwe gordel, als je ze nieuw nog kunt krijgen.
Maar wel een goede tip en goedkoper dan een nieuwe gordel, als je ze nieuw nog kunt krijgen.
Groet, Arnold
T5 2.5TDI 96kw bj 2008
T5 2.5TDI 96kw bj 2008
Re: 3punts gordel Links achter 93' California
Kan ik misschien combineren met de schapenscheerdersklas zondagochtend op het paardenveldje 
Met vriendelijke groet,
Charles Vos
T6 Rockton met California interieur en SCA hefdak
Charles Vos
T6 Rockton met California interieur en SCA hefdak
- krekwakwol
- Berichten: 4691
- Lid geworden op: 10 jan 2016, 20:28
- Locatie: Gemeente Westerkwartier
Re: 3punts gordel Links achter 93' California
Dat zou je met Evert, de campingeigenaar kunnen overleggen, of paardestaarten vlechten.
Groet, Arnold
T5 2.5TDI 96kw bj 2008
T5 2.5TDI 96kw bj 2008
Re: 3punts gordel Links achter 93' California
Bedankt voor de tip, ik ga het proberen!
VW California Generation 2001
Re: 3punts gordel Links achter 93' California
Ik heb even kunnen kijken, helaas is het mechaniek kapot. Ik heb de indruk dat er helemaal geen veer meer inzit. En aan de hand van de tekeningen heb ik nu ook gezien dta nr. 23 ontbreekt. Mijn vermoeden is dat een van de vorige eigenaren een poging heeft gewaagd te repareren, tevergeefs.
Het lijkt wel een vrij standaard. Ik vraag mij af of de gordel niet relatief makkelijk overgezet zou kunnen worden op een nieuw mechaniek. Hebben jullie daar ervaringen mee?
Het lijkt wel een vrij standaard. Ik vraag mij af of de gordel niet relatief makkelijk overgezet zou kunnen worden op een nieuw mechaniek. Hebben jullie daar ervaringen mee?
VW California Generation 2001
Re: 3punts gordel Links achter 93' California
Hi,
Ter informatie een update naar de zoektocht voor een vervangende gordel. Ik heb meerdere partijen gesproken en ze geven allemaal hetzelfde aan, er is niet aan te komen. (IDH, Josh Schippers, Ismet, VW Campercentrum, Westfalia Campercentrum).
Poptop verwees mij door naar een firma die gordelrevisies doet, vandaag heb ik de gordel opgestuurd en hopelijk valt het te repareren. In de "gevraagd/te koop" hoek heb ik ook een oproep geplaatst (https://weetjewel.nl/phpbb3/viewtopic.php?t=73170). We zijn enigszins wanhopig, onze dochter van 3 is toe aan een ruimer stoeltje, en dan is de 3punts gordel essentieel.
Ik laat weten hoe het met de reparatie afloopt.
Ter informatie een update naar de zoektocht voor een vervangende gordel. Ik heb meerdere partijen gesproken en ze geven allemaal hetzelfde aan, er is niet aan te komen. (IDH, Josh Schippers, Ismet, VW Campercentrum, Westfalia Campercentrum).
Poptop verwees mij door naar een firma die gordelrevisies doet, vandaag heb ik de gordel opgestuurd en hopelijk valt het te repareren. In de "gevraagd/te koop" hoek heb ik ook een oproep geplaatst (https://weetjewel.nl/phpbb3/viewtopic.php?t=73170). We zijn enigszins wanhopig, onze dochter van 3 is toe aan een ruimer stoeltje, en dan is de 3punts gordel essentieel.
Ik laat weten hoe het met de reparatie afloopt.
VW California Generation 2001
Re: 3punts gordel Links achter 93' California
De vervangende gordel is retour. Ik schrok bij het uitpakken omdat ze blijkbaar de gordel op een geheel andere mechaniek en beugel hebben geplaatst - waardoor ik bang was dat het helemaal niet zou passen. Maar ik heb de gordel inmiddels gemonteerd en... het werkt!
Het is niet een "tight fit" zoals het origineel, maar zeker goed genoeg.
De firma heet gordelspecialist.nl uit Zevenaar.
Oh ja, de OEM van de westfalia gordel is: 701 070 230
De firma heet gordelspecialist.nl uit Zevenaar.
Oh ja, de OEM van de westfalia gordel is: 701 070 230
VW California Generation 2001
Re: 3punts gordel Links achter 93' California
Mooi dat het opgelost is. Nu nog even een beschermplaatje maken om te zorgen dat het nieuwe mechaniek niet beschadigd raakt door de spullen die je in het kastje propt.
T4 California 1997 - 2.5TDI/ACV